Toont alle 2 resultaten
Bereken hier de kracht die uw hefkussen kan leveren.
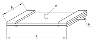
De kracht die een hefkussen kan leveren hangt af van de druk (P) in het hefkussen en van het werkzame oppervlak van het hefkussen (L x B). Dit oppervlak wordt kleiner naarmate de slag (S) van het hefkussen groter wordt.


Let op in de praktijk kunnen kleine afwijkingen optreden tussen de berekende kracht en de werkelijke uitgeoefende kracht. Deze afwijkingen zijn afhankelijk van de slag en bedragen minder dan 10%.
Hefkussens type AS/CR. Kleine inbouwhoogte, specifiek voor industriële toepassingen.
De ha-ka hefkussens van het type AS/CR zijn vervaardigd uit vezelversterkte NBR slang, voorzien van een RVS of messing aansluitnippel. Er zijn verschillende type aansluitingen: Verticale draadnippels in de slang gemonteerd, Horizontale draadnippels tussen de eindplaten of een horizontaal gemonteerde Slangpilaar tussen de eindplaten. De uiteinden van de slang zijn hermetisch afgedicht d.m.v. een vulkaniserende lijmverbinding en zijn versterkt met RVS eindplaten.
De hefkussens kunnen zeer compact worden ingebouwd en zijn uitermate geschikt om ingezet te worden als alternatief voor pneumatische korte-slag cilinders. Toepassingen en toepassingsgebieden: klemmen, aandrukken van lijm-mallen, remmechanismen, hefmechanismen voor interntransport installaties, drukkerijmachines, Voedselindustrie, etc.
Beschikbare breedtes: 33 · 44 · 55 · 65 · 85 · 105 · 125 · 165 mm
(204 mm op aanvraag)
Kenmerken AS/CR hefkussens:
- Goede chemische resistentie.
- Slijtvast.
- Zeewaterbestendig.
- Bestand tegen veroudering, UV straling en ozon.
- Maximale werkdruk afhankelijk van het type 5 tot 8 Bar.
- Maximale hefhoogte (slag) 92mm.
- Iedere gewenste lengte mogelijk tot wel 20 meter.
- Verkrijgbaar in diverse breedtematen 33mm t/m 165mm.
- Toelaatbare temperaturen voor het slangmateriaal van -35°C tot +90°C.
- Aansluitnippels van AISI 303 of messing.
- Eindstrippen van AISI 304.
Toepassingen AS/CR:
- Heffen.
- Klemmen.
- Aandrukken.
Neem contact met ons op voor uw specifieke toepassing en een prijsopgave.

